Twinner - Trade Winners Net Marketing Co., Ltd.
BACK
Log In
  • Raison Enterprise Co., Ltd. - logo
  • Raison Enterprise Co., Ltd.

  • Interconnects Connectors RF connectors
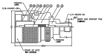
  • NM-RSMAM1-NT3G-50 - N Plug To SMA Plug Adapter - Raison Enterprise Co., Ltd.
  • NM-RSMAM1-NT3G-50

    N Plug To SMA Plug Adapter

Non-Nickel

Supplier Information

Raison Enterprise Co., Ltd.

TEL : 886-2-2659-0060 FAX : 886-2-2797-3715
11491 No.12 , Lane 321 , Yangguang St. , Neihu Dist , Taipei , Taiwan, R.o.c.
Web-Site : http://www.commate.com.tw/
E-Mail : info@raison.com.tw
Back